都昌县妇幼保健院
Duchang County Maternal and Child Health Hospital
就医指南
住院指南 HOSPITALIZATION GUIDELINES
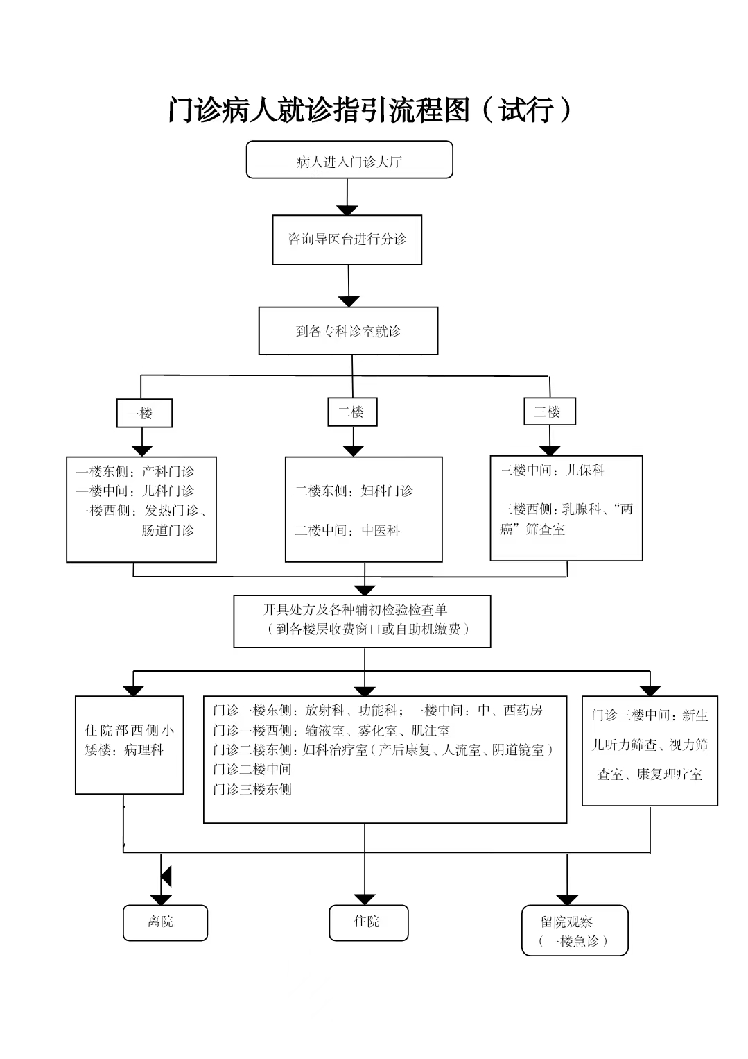
门诊指南
OUTPATIENT GUIDELINES
来院交通
TRANSPORTATION TO THE HOSPITAL
预约挂号
APPOINTMENT WITH A DOCTOR
门诊就诊指南